Winkelrahmen-Befestigungen

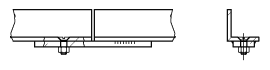
Rahmenverlaschung

Komplett mit Schrauben für Winkelrahmen über ca. 3 m Länge zum Zusammenschrauben für Rahmenteile.

Lasche mit Bohrloch

Zur Befestigung der freitragenden Rahmenseite an der Wand.
Die Laschen sind aus Material 40/4 mm, 80 mm lang mit Bohrloch 9 mm Durchmesser und werden nach Bedarf, nach oben oder unten angeschweisst.

T-Steg mit Winkelrahmen

Zu empfehlen bei mehrteiligen Rosten, um ein Verschieben der Rostteile zu verhindern. Die Stege verleihen ausserdem dem Rahmen zusätzlich Stabilität und erleichtern den Einbau.

Flacheisenverstärkung

Bei längeren Winkelrahmen empfiehlt sich die Anbringung eines hochkant untergeschweissten Flacheisens an der freitragenden Stelle, um ein Durchbiegen zu verhindern. Nach Belieben kann diese Seite auch angedübelt werden.

Maueranker Typ 1

Für Winkelrahmen mit begehbaren Gitterrosten: Bestehend aus Flacheisen 10 x 3 mm (S-förmig). An der Winkelrahmenunterseite angeschweisst (kann nach Bedarf aufgebogen werden).

Maueranker Typ 2

Für Winkelrahmen mit befahrbaren Gitterrosten: Bestehend aus Flacheisen 20 x 3 mm (S-förmig).
Am Winkelrahmen seitlich, stehend angeschweisst.

Rieder & Co. AG
Fabrik: Wittnauerstrasse 142
CH-4467 Rothenfluh
Tel.: +41 (0) 61 991 01 18
Fax: +41 (0) 61 991 05 89
E-Mail: info@rieder-co-ag.ch